
El modelo de ciudad que apueta por el desarrollo sostenible para la mejora de la calidad de vida de sus habitantes.

Con el objetivo de fomentar una movilidad más sostenible y amable en la ciudad, se crearán nuevos aparcamientos públicos disuasorios y se mejorarán aparcamientos ya existentes.
Los aparcamientos disuasorios están concebidos para reducir el número de automóviles que llegan al centro urbano de la ciudad destino u otras áreas de atracción con pocas posibilidades de estacionamiento. Consisten en bolsas de estacionamiento público situadas a la entrada de las ciudades, junto a las principales vías de acceso por carretera que están conectadas al centro urbano con transporte público y/o con una red de itinerarios peatonales y con un coste asumible para las personas usuarias de los mismos.
Además, la necesaria puesta en marcha de la Zona de Bajas Emisiones (ZBE, son áreas en las que el acceso a determinados vehículos está restringido debido a sus emisiones, es decir, son medidas pensadas para mejorar la calidad del aire) en la zona centro de la ciudad y la futura puesta en marcha de la Línea 1 de metro obligan a la creación de una red de aparcamientos públicos que complementen a estas medidas de movilidad sostenible.
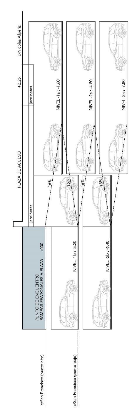
De este modo, se plantea por una lado, crear una bolsa de aparcamientos que envuelvan y den servicio a la ZBE (Centro histórico) con actuaciones como el aparcamiento de la Casa de la Juventud, el aparcamiento en la Plaza Nicolás Alpériz y la mejora en los aparcamientos de San Francisco y Teatro Auditorio Riberas del Guadaíra.
Por otro lado, y para dar servicio a la Línea 1 de metro se ejecutará un aparcamiento en un suelo público en la zona de Pablo VI.








